DOKUMENTY DO POBRANIA
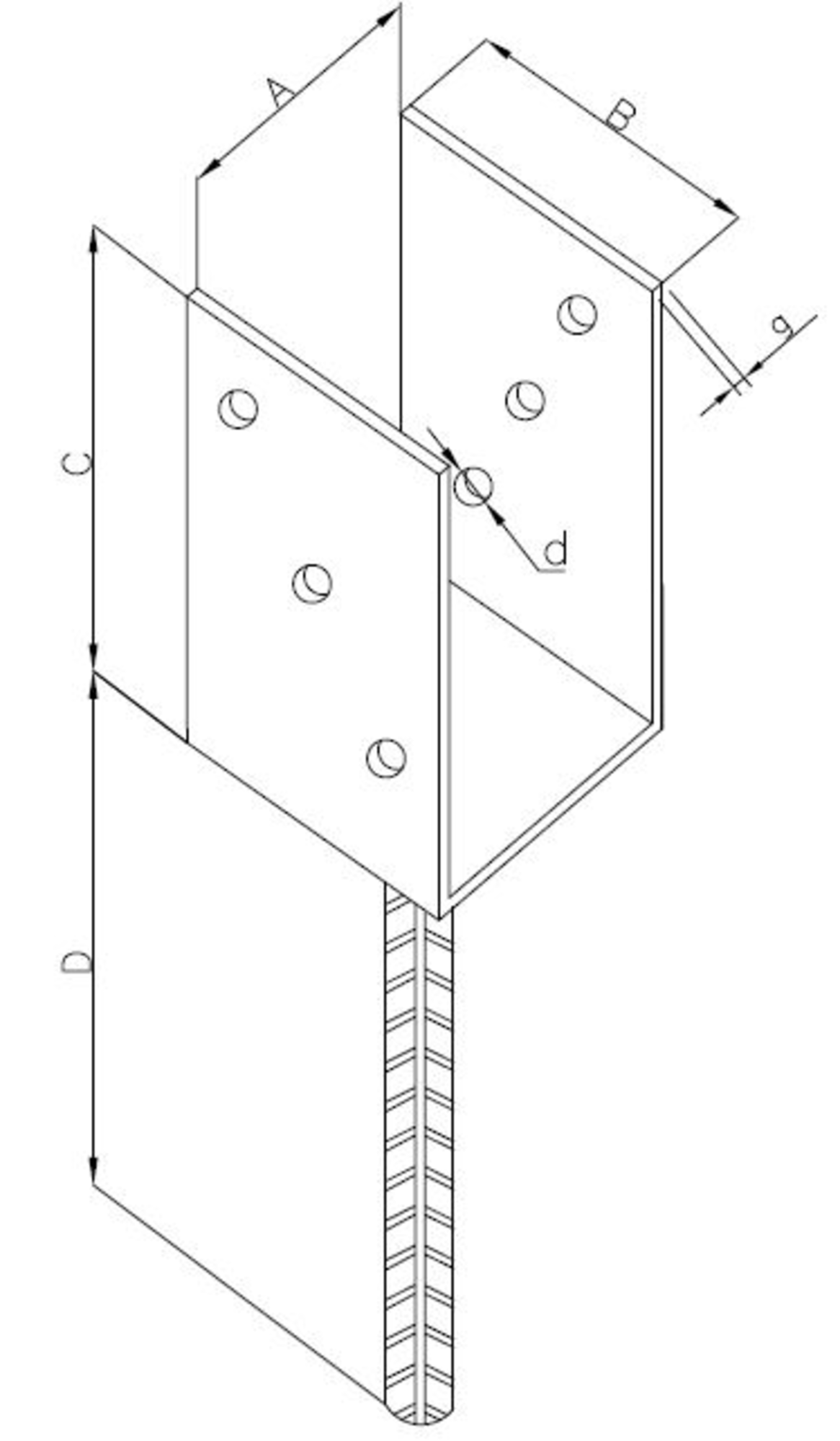
Podstawa słupa
Podstawa słupa krótka do betonu to element konstrukcyjny stosowany w budownictwie, architekturze krajobrazu i innych dziedzinach, który służy do stabilnego mocowania słupów, kolumn, ogrodzeń lub innych elementów konstrukcyjnych do podłoża betonowego. Produkt ten jest krótki, co pozwala na skuteczne i trwałe przymocowanie elementów w miejscach, gdzie nie wymagana jest znaczna długość podstawy.
Zastosowanie:
- Budownictwo: Podstawy krótkie są szeroko stosowane w budownictwie do mocowania słupów, kolumn, ogrodzeń, balustrad i innych elementów konstrukcyjnych do powierzchni betonowych, cegieł i innych materiałów budowlanych.
- Architektura krajobrazu: Wykorzystywane są w projektach architektury krajobrazu, takich jak ogrodzenia, balustrady, słupki ogrodowe i inne elementy.
- Budownictwo ogrodów: Podstawy te znajdują zastosowanie w projektach ogrodowych, zwłaszcza tam, gdzie wymagane jest stabilne mocowanie słupów ogrodzeniowych.
Korzyści:
- Zapewniają bezpieczne i trwałe mocowanie słupów, kolumn lub innych elementów konstrukcyjnych do podłoża betonowego.
- Odporność na warunki atmosferyczne i korozję gwarantuje długotrwałą wytrzymałość produktu.
- Krótka konstrukcja jest idealna w miejscach, gdzie długa podstawa nie jest potrzebna.
- Otwory montażowe ułatwiają montaż i przymocowanie do powierzchni betonowej.
DOKUMENTY DO POBRANIA
- Grupa
- 6231
