DOKUMENTY DO POBRANIA
Deklaracje zgodności
Deklaracje Krajowe
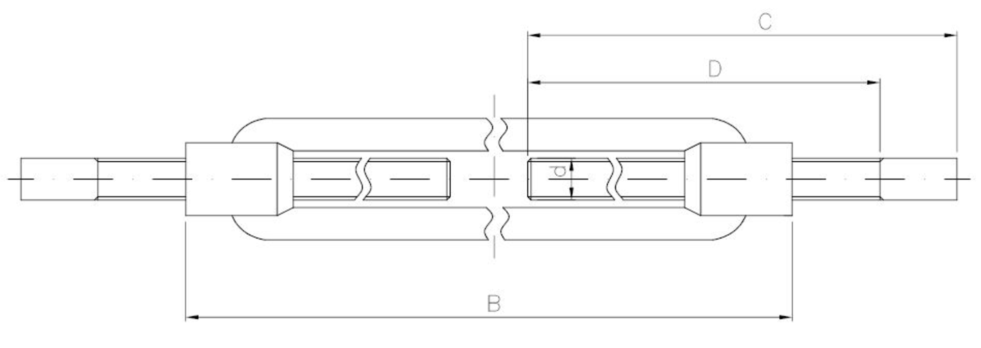
Śruba rzymska prosta
Śruba rzymska prosta to element mocowania i łączenia wykorzystywany w różnych dziedzinach, od budownictwa po przemysł i rekreację. Charakteryzuje się prostym trzonem gwintowanym, który umożliwia skuteczne i stabilne mocowanie różnych elementów.
Zastosowanie:
- Budownictwo: Śruby rzymskie proste znajdują zastosowanie w budownictwie do mocowania różnych elementów konstrukcyjnych, jak belki, kształtowniki, balustrady i inne.
- Przemysł: W przemyśle stosuje się je do montażu i mocowania elementów maszyn, urządzeń, a także w konstrukcjach stalowych i metalowych.
- Rekreacja: Produkty te znalazły zastosowanie w rekreacji, zwłaszcza w parkach linowych i urządzeniach do wspinaczki.
- Motoryzacja: Śruby rzymskie proste są używane w motoryzacji, na przykład do mocowania bagażników, sprzętu sportowego i innych akcesoriów.
- Inne zastosowania: Mogą być stosowane w wielu dziedzinach, takich jak ogólny użytkownik, prace DIY i wiele innych aplikacji.
Korzyści:
- Wytrzymałość: Konstrukcja ze stali nierdzewnej sprawia, że śruby są wyjątkowo wytrzymałe i odporne na uszkodzenia.
- Prosta konstrukcja: Śruby rzymskie proste charakteryzują się prostą i efektywną konstrukcją, co ułatwia ich montaż.
- Odporność na korozję: Materiał nierdzewny zapewnia odporność na korozję, co pozwala na stosowanie ich w różnych warunkach atmosferycznych.
DOKUMENTY DO POBRANIA
Deklaracje zgodności
Deklaracje Krajowe
- Grupa
- 6312
